Выбрать производителя

Просмотров: 6970 | Рекомендовано: 0 | Рейтинг: 0,00
Адаптер на шланг для последовательного соединения погружных насосов

Способы параллельного и последовательного соединения насосов погружных дренажных осушительных водяных с одинаковыми и разными техническими характеристиками

Оснастка, адаптер, переходник, штуцер на шланг, рукав для последовательного соединения насосов погружных дренажных осушительных электрических центробежных
Оснастка штуцер под шланг, рукав для последовательного подсоединения насосов погружных дренажных осушительных электрических центробежных
Тандемное подсоединение насосов погружных дренажных осушительных электрических центробежных адаптером переходником под шланг, рукав
Адаптер переходник под шланг, рукав для последовательного соединения насосов погружных дренажных осушительных электрических центробежных
Последовательное соединение насосов погружных дренажных осушительных электрических центробежных адаптером переходником под шланг, рукав
Каскадное подключение насосов погружных дренажных осушительных электрических центробежных адаптером переходником под шланг, рукав
Напорная и расходная характеристики пары последовательно соединенных насосов погружных дренажных осушительных электрических центробежных
Два и более промышленных электрических центробежных погружных насосов могут быть соединены последовательно в серию (каскадно) посредством специального шлангового штуцера - переходника или параллельно для увеличения рабочих параметров насосной системы.

Параллельная работа насосов на общий трубопровод, шланг, рукав

Необходима для увеличения производительности (подачи). При этом общая производительность водяной системы увеличивается на производительность каждого дополнительного погружного насосного агрегата.

Общий напор системы остается неизменным.

Необходимые условия и рекомендации

  • Параллельно соединенные насосы имеют одинаковый напор.
  • Если один из насосов имеет меньший напор, то при прочих равных условиях он будет частично работать на себя не в силах полностью «продавить» давление второго насоса.
  • Насос с меньшим напором может быть подключен в совместную параллельную работу, только начиная с момента, когда развиваемые насосами напоры будут равны.
  • Правильное расположение разнонапорных погружных насосов относительно друг друга можно отрегулировать длиной и/или диаметром напорных шлангов от нагнетания насосов до общего трубопровода (шланга) или дросселем (дроссельной задвижкой).
  • Для построения суммарной характеристики двух одинаковых (равнонапорных) параллельно работающих насосов необходимо удвоить их производительности при равных напорах.
  • Суммарная производительность насосов, работающих параллельно в общей системе, несколько меньше суммы производительности этих же насосов при их раздельной работе.
    Это следствие того, что для увеличения общего расхода жидкости в трубопроводе насосам требуется преодолеть возросшее сопротивление на нагнетании путем создания большего давления, что приводит к незначительному уменьшению их производительности.
  • Параллельное подсоединение возможно для всех стандартных моделей погружных осушительных, дренажных насосов без переходной оснастки и специальных дополнительных приспособлений.

Последовательная работа насосов на общий трубопровод, шланг, рукав

Необходима для увеличения высоты нагнетания. При этом общая высота нагнетания увеличивается на высоту нагнетания каждого дополнительного погружного насосного агрегата, присоединяемого в серию.

Общая производительность системы остается неизменной.

Необходимые условия и рекомендации

  • Последовательно соединенные насосы имеют одинаковую подачу и со второй ступени включения в цепочку могут работать «в сухую» и без перегрева электродвигателя в непогруженном состоянии.
  • Суммарный напор равнопроизводительных последовательно включенных насосов равен сумме напоров каждого из насосов.
  • Рекомендуется располагать насосы серией на одинаковом расстоянии по вертикали, чтобы равномерно распределить давление по длине линии.
  • Однако при необходимости допускается последовательная установка двух насосов рядом – тандемом (каскадом). В этом случае необходимо учитывать ограничения по допустимому давлению для шланга (трубы, рукава) и максимальное давление на выходе последовательно соединенных насосов, которое не должно превышать 10 бар.
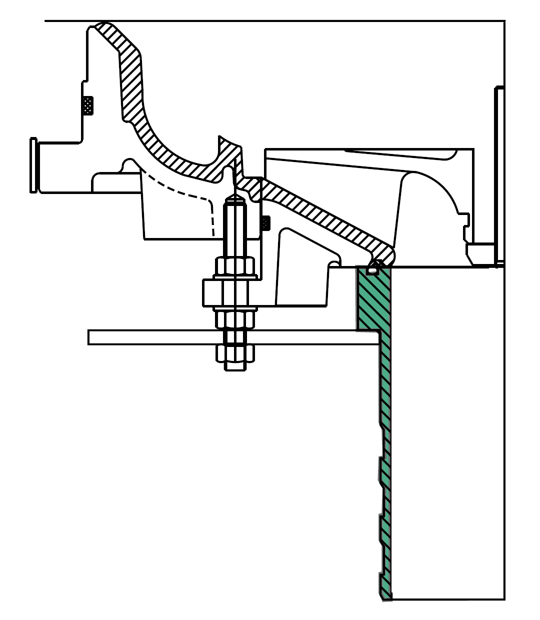
  • Каскадное последовательное подсоединение возможно для всех моделей погружных осушительных, дренажных насосов со специальной составной конструкцией всасывающей части и реализуется при помощи адаптера – переходника со штуцером (submersible pumps series connection adapter).
  • Адаптер для последовательного присоединения пары насосов имеет входной патрубок по центру, и вода подается через него прямо в диффузор электронасоса.
  • Переходной адаптер под шланг заменяет съемную нижнюю всасывающую часть насоса (фильтр).
  • Если фильтр несъемный (выполнен в виде единой конструкции с внешним кожухом), необходимо заказать опциональный укороченный внешний кожух без фильтрующей секции.
  • Перед вводом в работу необходимо снять фильтр на всасе, установить переходной адаптор с уплотнительной прокладкой, присоединить и обжать нагнетательный шланг.

Производительность при последовательном тандемном подключении насосов

Определяется для каждого из них следующим методом:
  • разделить суммарный напор системы на количество подключенных насосов
  • найти на диаграмме производительность насоса для полученного напора

Параллельно–последовательная работа насосов на общий трубопровод, шланг, рукав

Необходима для одновременного увеличения производительности (подачи) и напора. При этом общая производительность и напор гидросистемы увеличивается на производительность и напор каждого дополнительно установленного погружного насосного агрегата.
  • Параллельно – последовательная схема установки группы однотипных насосов рассчитывается и внедряется из объединенных условий и рекомендаций двух предыдущих вариантов.
  • Коммутация нескольких мобильных насосов в единую трубопроводную сеть для закачивания в объединенный коллектор дает существенный прирост напорной и расходной характеристик по сравнению с единичной аналогичной установкой или парой аналогичных установок.

Преимущества использования соединительных адаптеров

Хорошо видны и работают при интенсивной и разноплановой эксплуатации электронасосов в полевых условиях:
  • не требуется серьезная автоматизация
  • простой монтаж и демонтаж
  • гарантия быстрого разворачивания и наладки схемы комбинированной установки
  • возможность более эффективного и разностороннего использования легкой переносной насосной техники для значительно повышенных (завышенных) требований

Области применения параллельной и последовательной работы погруженных насосов

Определяются рациональностью данного метода для различных гидравлических проточных схем с постоянным или переменным расходом перекачиваемой среды:
  • водоотведение
  • пожаротушение
  • осушение, дренаж
  • водозабор, водоснабжение

Объекты применения

  • водные объекты: водохранилища, водоемы, пруды, озера, реки
  • коммунальные, промышленные и строительные объекты: колодцы, отстойники, шахты, туннели, карьеры, котлованы, площадки
  • предприятия судостроения
  • предприятия судоремонта

Выбрать и купить по выгодной цене

Мы поможем подобрать и купить переходные адаптеры, штуцеры, оснастки и переходники на шланги, рукава под последовательное соединение насосов погружных дренажных осушительных электрических центробежных промышленных; оценить взаимозаменяемость насосной техники, возможные неисправности и их устранение своими руками. Цена договорная.

Чтобы оформить заказ, воспользуйтесь формой обратной связи или позвоните по указанным телефонам.

Подать заявку

 

Переходное устройство последовательного соединения погружных насосов Фото

Чертеж схема адаптера переходника оснастки для последовательного подсоединения центробежных электрических осушительных дренажных погружных насосов переменной производительности - до 370 м3/час Чертеж схема адаптера переходника оснастки для последовательного присоединения центробежных электрических осушительных дренажных погружных насосов переменного напора - до 72 метров Чертеж схема адаптера переходника оснастки для последовательного подключения центробежных электрических осушительных дренажных погружных насосов высокого напора – до 90 метров Чертеж схема адаптера переходника оснастки для последовательной установки центробежных электрических осушительных дренажных погружных насосов большой производительности - до 1150 м3/час

Чертеж схема адаптера переходника оснастки для последовательного соединения центробежных электрических осушительных дренажных погружных насосов малой производительности – до 45 м3/час Чертеж схема адаптера переходника оснастки для последовательной работы центробежных электрических осушительных дренажных погружных насосов переменной подачи – до 190 м3/час



 



© 2026 ООО "Проинвел". Все права защищены. Продолжая находиться на сайте, вы соглашаетесь с политикой конфиденциальности, подтверждаете сбор обезличенных метаданных и обработку куки-файлов. Адаптация, использование, копирование, модификация или распространение (за исключением размещения/ репоста ссылки на конкретную веб-страницу в разрешённых социальных сетях) любых материалов с сайта https://proinvel.ru допускается только после получения письменного согласия и при условии указания активной обратной ссылки на источник. Обращаем внимание на то, что вся представленная информация на сайте носит исключительно информационный характер и ни при каких условиях не является публичной офертой, определяемой положениями Статьи 437 Гражданского кодекса Российской Федерации. Для получения более подробной и самой актуальной информации о предлагаемых продуктах, сервисах, товарах, услугах, пожалуйста, обращайтесь по указанным контактным данным.

ru-RUen-US